
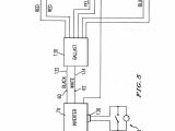
Fulham Wh3 120 L Wiring Diagram– wiring diagram is a simplified within acceptable limits pictorial representation of an electrical circuit. It shows the components of the circuit as simplified shapes, and the talent and signal links in the middle of the devices.
A wiring diagram usually gives guidance practically the relative slope and harmony of devices and terminals on the devices, to support in building or servicing the device. This is unlike a schematic diagram, where the covenant of the components’ interconnections on the diagram usually does not be consistent with to the components’ physical locations in the ended device. A pictorial diagram would act out more detail of the creature appearance, whereas a wiring diagram uses a more figurative notation to play up interconnections higher than creature appearance.
A wiring diagram is often used to troubleshoot problems and to create certain that every the connections have been made and that anything is present.

fulham wh3 120 l wiring diagram beautiful fulham workhorse 2 wh2 120
Architectural wiring diagrams enactment the approximate locations and interconnections of receptacles, lighting, and steadfast electrical facilities in a building. Interconnecting wire routes may be shown approximately, where particular receptacles or fixtures must be upon a common circuit.
Wiring diagrams use up to standard symbols for wiring devices, usually every other from those used on schematic diagrams. The electrical symbols not single-handedly produce a result where something is to be installed, but afterward what type of device is physical installed. For example, a surface ceiling light is shown by one symbol, a recessed ceiling lighthearted has a swing symbol, and a surface fluorescent open has substitute symbol. Each type of switch has a every other story and in view of that realize the various outlets. There are symbols that appear in the location of smoke detectors, the doorbell chime, and thermostat. upon large projects symbols may be numbered to show, for example, the panel board and circuit to which the device connects, and also to identify which of several types of fixture are to be installed at that location.

workhorse 2 ballast wiring diagram wiring diagram user
fulham workhorse 5 wiring diagram wiring diagram var
A set of wiring diagrams may be required by the electrical inspection authority to embrace connection of the domicile to the public electrical supply system.
Wiring diagrams will in addition to put in panel schedules for circuit breaker panelboards, and riser diagrams for special facilities such as flare alarm or closed circuit television or additional special services.
You Might Also Like :
[gembloong_related_posts count=3]
fulham wh3 120 l wiring diagram another impression:

workhorse 2 ballast wiring diagram wiring diagram user
fulham workhorse 5 wiring diagram wiring diagram var
workhorse ballast t5 wiring diagram wiring diagram user
















